Sediment Coring Systems
Gravity & Piston Corers, Universal Design
Mooring Systems, Inc. manufactures a sediment coring system configurable for gravity or piston coring operations.
A universal design allows for multiple configuration options. The system can be adjusted for a variable number of core barrels and ballast weights to suit core sample length requirements.
The corer main body is constructed of steel and shaped like a dart with welded fins for vertical stability control during free fall.
The main body accepts up to (6) 20 kg lead discs, or up to (12) 25 kg lead discs.
Clear core liner tubes made of "cellulose acetate butyrate" plastic slide inside the steel coring barrels to retain the sample or be re-used.
A core catcher made of stainless steel fingers welded to a ring keep the sample from falling out of the liner during recovery of the corer.
A threaded bronze nose cone provides the cutting edge into the sediment.
Gravity Coring:
For gravity coring operations, the end of the deployment cable is attached to the top of the main body and lowered as fast as possible when approaching the bottom to allow gravity and inertia to drive the corer barrel into the sediment.
A check valve P/N 2171VR is installed into the top end of the corer main body that simply allows water to flow through the liner during descent and blocks water during assent. This keeps the water from flushing out the collected sample.
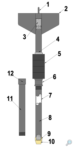
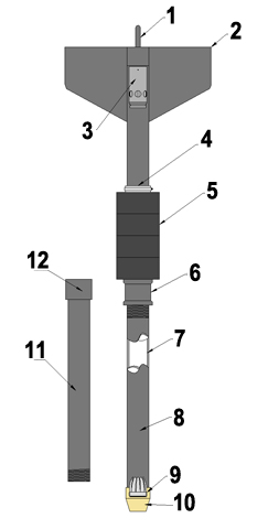
- Gravity Coring Configuration:
- Attachment Bail
- Stabilizing Fins
- One-way Valve
- Clamp
- Lead Ballast
- Steel Coupler
- Clear Plastic Liner
- Steel Barrel
- Stainless Core Catcher
- Bronze Nose Cone
- Extension Barrel
- Barrel Coupler
Piston Coring:
A trigger assembly is required for piston coring operations.
The trigger system utilizes a pilot weight to allow a 5m free-fall of the corer.
Unlike the valve used in gravity coring, a piston is inserted inside the core liner and positioned at the bottom of the liner near the nose cone.
The piston does not let water pass through it and when the corer penetrates the sediment, the piston is forced upward with the sample. This eliminates water from being trapped above the sample.
The piston is attached to the end of the deployment cable and during ascent will draw a vacuum inside the liner to help retain the sample.
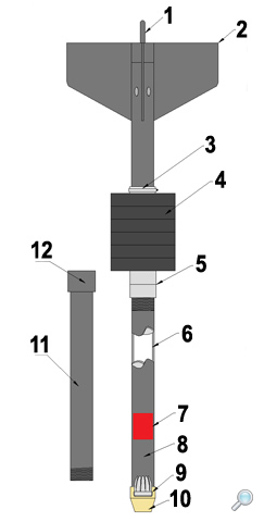
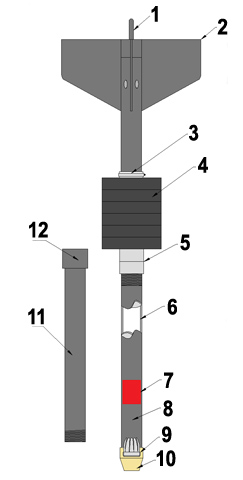
- Piston Coring Configuration:
- Attachment Bail
- Stabilizing Fins
- Clamp
- Lead Ballast
- Stainless Piston Stop
- Clear Plastic Liner
- Stainless Piston
- Steel Barrel
- Stainless Core Catcher
- Bronze Nose Cone
- Extension Barrel
- Barrel Coupler
- Trigger Assembly Configuration:
- Winch Cable
- Bronze Wire Clamp
- Trigger Plate
- Safety Pin With Tether
- Pressure Activated Releases Location
- Lever
- Pilot Weight Rope
- Pilot Weight
Component Specifications:
| Corer Main Body | Galvanized Steel, 39" |
| Barrel Size | Galvanized Steel 3" Sch 40 |
| Barrel Lengths | Cut And Threaded To Match System |
| Gravity Coring Weights | 44 lbs. (20kg) |
| Piston Coring Weights | 55 lbs. (25 kg) |
| Core Liner Material | Cellulose Acetate Butyrate |
| Core Liner Size | 2 5/8" ID x 2 7/8" OD |
| Core Liner Length | Cut To Length To Match System |
| Nose Cone | Bronze |
| Core Catcher | Stainless Steel |
| Model GC-075 | Gravity Corer | 0.75m |
| Model GC-150 | Gravity Corer | 1.5m |
| Model PC-150 | Piston Corer | 1.5m |
| Model PC-300 | Piston Corer | 3.0m |
| Model PC-600 | Piston Corer | 6.0m |
If you have any questions on our gravity or piston coring systems, feel free to contact us.
Piston Immobilizer
When the pilot weight of the piston corer touches the ocean floor, the corer is released and free falls into the bottom. As the corer moves down into the sediment, the piston remains essentially at a constant level to reduce compaction and distortion. However, if the corer barrel does not penetrate fully there will be an empty space remaining in the liner, and when the corer is pulled out, the piston raises to the piston stop, causing the core sample to be sucked to the top of the core liner, thus disturbing the sample. If the sediment is a dense clay and does not move as the piston moves up through the empty space in the liner, it is possible a vacuum is formed and this pressure differential can collapse the core liner.
A Piston Immobilizer has been developed to eliminate this problem. The piston immobilizer is a piston that splits into 2 sections. The lower section remains against the core sample to and the upper half slides upward against a stop as the corer is lifted back to the ship.
Above: Universal corer main body
Above Left: Gravity sediment coring valve
Above Right: Piston sediment coring valve
Above Left: Gravity sediment corer
Above Right: Piston sediment corer
Above: Piston coring system release trigger
Above: Piston coring system release trigger assembly configuration
Above Left: Piston sediment coring system wire clamp assembly
Above Right: Piston sediment coring system wire clamp assembly
Above: Piston Immobilizer #1
Above: Piston Immobilizer #2












